您的位置:
首頁 >
產品中心 >
軸承產品 >
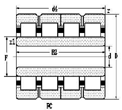
LYC洛陽軸承 FC2842125 圓柱滾子軸承
LYC洛陽軸承 FC2842125 圓柱滾子軸承
品牌:LYC洛陽軸承
類型:圓柱滾子軸承
新型號:FC2842125
舊型號:
內徑:140 mm
外徑:210 mm
厚度:125 mm
在線詢價
技術咨詢
產品尺寸與參數
客服
工作時間:
周一至周五: 9:00-17:50
周六至周日: 休息
在線客服:
客服: 
聯系方式:
聯系電話: 0571-85807285
聯系手機: 18957175968
頂部
能看在线一级片无码